Оптима

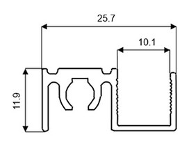
Нижнеопорная система

Оптима

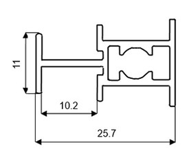
Рамная система «Оптима»

Шкафы купе, которые еще не так давно появились на рынке мебели, быстро заняли лидирующие позиции, вытеснив варианты с распашными дверями. Это обусловлено тем, что изделия, предусматривающие раздвижной механизм, превосходно подойдут для помещений, имеющих нестандартную планировку. Их нередко заказывают и для маленьких квартир.

Изделия RIAL.PRO всецело отвечают перечисленным критериям. Дверные системы компании украсят любой интерьер. Они порадуют покупателя особой изысканностью. Чтобы приобретенная мебель могла дольше прослужить без необходимости осуществлять ремонт, целесообразно отдать предпочтение качественным системам. Отличным вариантом станет «Оптима».

Преимущества системы

На сегодняшний день «Optima» заслужено пользуется спросом буквально повсеместно. Двери таких изделий скользят непосредственно по нижним направляющим. Это рамная система для шкафов-купе. Фасадная видимая часть рамки двери не превышает 15 мм. Благодаря модернизированным роликам, оснащенным износостойкими подшипниками, обеспечивается плавный ход дверей. Невзирая на высоту и тяжесть, открыть их не сложно. Алюминиевая система «Оптима» состоит из:

  • Узких ручек профиля;
  • Верхнего направляющего профиля;
  • Нижнего ходового профиля;
  • Нижнего профиля рамки;
  • Верхнего профиля рамки;
  • Делителя;
  • Роликов.

«Optima» зарекомендовала себя, как надежный и качественный раздвижной механизм. Это рамная конструкция, которая может иметь различные наполнители:

  • Стекло;
  • ЛДСП;
  • Зеркала;
  • Декоративные панели.

Уникальная разработка RIAL.PRO предусматривает возможность комбинирования наполнения 10 мм (ЛДСП) и 4 мм (стекло). Изделия изготавливают по инновационным тенденциям. Конструкция представлена нижнеопорной системой. Она выдерживает нагрузки до 55 кг. Предельная ширина двери составляет 1,2 м, а высота – 2,7 м. В анодировке комплектующие представлены в таких исполнениях:

  • Хром;
  • Черный.

Окутанные профили расширяют цветовую гамму до нескольких десятков цветов. В RIAL.PRO можно заказать систему «Оптима» по лояльной цене. Качество каждого элемента гарантировано. Дверные системы от нашей компании прослужат долгие годы. Сегодня они заслужено пользуются спросом в европейских странах. Ведь «Оптима» демонстрирует красивое наполнение. Более того, подобные системы отличает опрятный внешний вид. Заказать их можно прямо сейчас на официальном сайте в режиме онлайн или по телефону.

Комплектующие

Размеры 5.5 м.
Цвета доступные на складе
Софт тач белый
Софт тач белый
Софт тач бежевый
Софт тач бежевый
Софт тач капучино
Софт тач капучино
Софт тач крем-брюле
Софт тач крем-брюле
Софт тач латте
Софт тач латте
Софт тач молочный
Софт тач молочный
Софт тач муссон
Софт тач муссон
Софт тач серый
Софт тач серый
Софт тач шоколад
Софт тач шоколад
Софт тач черный
Софт тач черный
Виски зернистый
Виски зернистый
Графит зернистый
Графит зернистый
Жемчуг зернистый
Жемчуг зернистый
Сатин зернистый
Сатин зернистый
Хром глянец
Хром глянец
Белый глянец
Белый глянец
Серебряный дождь
Серебряный дождь
Хром браш
Хром браш
Хром матовый (анод)
Хром матовый (анод)
Черный матовый (анод)
Черный матовый (анод)
Размеры 5.5 м.
Цвета доступные на складе
Софт тач белый
Софт тач белый
Софт тач бежевый
Софт тач бежевый
Софт тач капучино
Софт тач капучино
Софт тач крем-брюле
Софт тач крем-брюле
Софт тач латте
Софт тач латте
Софт тач молочный
Софт тач молочный
Софт тач муссон
Софт тач муссон
Софт тач серый
Софт тач серый
Софт тач шоколад
Софт тач шоколад
Софт тач черный
Софт тач черный
Виски зернистый
Виски зернистый
Жемчуг зернистый
Жемчуг зернистый
Сатин зернистый
Сатин зернистый
Хром глянец
Хром глянец
Белый глянец
Белый глянец
Серебряный дождь
Серебряный дождь
Хром матовый (анод)
 Хром матовый (анод)
Черный матовый (анод)
Черный матовый (анод)
Размеры 5.5 м.
Цвета доступные на складе
Хром матовый (анод)
Хром матовый (анод)
Черный матовый (анод)
Черный матовый (анод)
Размеры 5.9 м.
Цвета доступные на складе
Софт тач белый
Софт тач белый
Софт тач бежевый
Софт тач бежевый
Софт тач капучино
Софт тач капучино
Софт тач крем-брюле
Софт тач крем-брюле
Софт тач латте
Софт тач латте
Софт тач молочный
Софт тач молочный
Софт тач муссон
Софт тач муссон
Софт тач серый
Софт тач серый
Софт тач шоколад
Софт тач шоколад
Софт тач черный
Софт тач черный
Виски зернистый
Виски зернистый
Графит зернистый
Графит зернистый
Жемчуг зернистый
Жемчуг зернистый
Сатин зернистый
Сатин зернистый
Хром глянец
Хром глянец
Белый глянец
Белый глянец
Серебряный дождь
Серебряный дождь
Хром браш
Хром браш
Хром матовый (анод)
Хром матовый (анод)
Черный матовый (анод)
Черный матовый (анод)
Размеры 5.9 м.
Цвета доступные на складе
Софт тач белый
Софт тач белый
Софт тач бежевый
Софт тач бежевый
Софт тач капучино
Софт тач капучино
Софт тач крем-брюле
Софт тач крем-брюле
Софт тач латте
Софт тач латте
Софт тач молочный
Софт тач молочный
Софт тач муссон
Софт тач муссон
Софт тач серый
Софт тач серый
Софт тач шоколад
Софт тач шоколад
Софт тач черный
Софт тач черный
Виски зернистый
Виски зернистый
Графит зернистый
Графит зернистый
Жемчуг зернистый
Жемчуг зернистый
Сатин зернистый
Сатин зернистый
Хром глянец
Хром глянец
Белый глянец
Белый глянец
Серебряный дождь
Серебряный дождь
Хром браш
Хром браш
Хром матовый (анод)
 Хром матовый (анод)
Черный матовый (анод)
Черный матовый (анод)
Размеры 5.9 м.
Цвета доступные на складе
Софт тач белый
Софт тач белый
Софт тач бежевый
Софт тач бежевый
Софт тач капучино
Софт тач капучино
Софт тач крем-брюле
Софт тач крем-брюле
Софт тач латте
Софт тач латте
Софт тач молочный
Софт тач молочный
Софт тач муссон
Софт тач муссон
Софт тач серый
Софт тач серый
Софт тач шоколад
Софт тач шоколад
Софт тач черный
Софт тач черный
Виски зернистый
Виски зернистый
Графит зернистый
Графит зернистый
Жемчуг зернистый
Жемчуг зернистый
Сатин зернистый
Сатин зернистый
Хром глянец
Хром глянец
Белый глянец
Белый глянец
Серебряный дождь
Серебряный дождь
Хром браш
Хром браш
Хром матовый (анод)
 Хром матовый (анод)
Черный матовый (анод)
Черный матовый (анод)
Размеры 5,5 м.
Цвета доступные на складе
Хром матовый (анод)
Хром матовый (анод)
Размеры 5.9 м.
Цвета доступные на складе
Софт тач белый
Софт тач белый
Софт тач бежевый
Софт тач бежевый
Софт тач капучино
Софт тач капучино
Софт тач крем-брюле
Софт тач крем-брюле
Софт тач латте
Софт тач латте
Софт тач молочный
Софт тач молочный
Софт тач муссон
Софт тач муссон
Софт тач серый
Софт тач серый
Софт тач шоколад
Софт тач шоколад
Софт тач черный
Софт тач черный
Виски зернистый
Виски зернистый
Графит зернистый
Графит зернистый
Жемчуг зернистый
Жемчуг зернистый
Ром зернистый
Ром зернистый
Сатин зернистый
Сатин зернистый
Трюфель браш
Трюфель браш
Хаспеадо сатин
Хаспеадо сатин
Хром глянец
Хром глянец
Золото глянец
Золото глянец
Шампань глянец
Шампань глянец
Бронза глянец
Бронза глянец
Белый глянец
Белый глянец
Бейлис глянец
Бейлис глянец
Венге темный глянец
Венге темный глянец
Ром глянец
Ром глянец
Дуб светлый глянец
Дуб светлый глянец
Крок жемчуг
Крок жемчуг
Серебряный дождь
Серебряный дождь
Черный зернистый
Черный зернистый
Хром браш
Хром браш
Хаспеадо золото
Хаспеадо золото
Хаспеадо хром
Хаспеадо хром
Хром матовый (анод)
Хром матовый (анод)
Золото матовое (анод)
 Золото матовое (анод)
Шампань матовая (анод)
Шампань матовая (анод)
Бронза матовая (анод)
Бронза матовая (анод)
Черный матовый (анод)
Черный матовый (анод)
Береза структурная
Береза структурная
Венге красный структурный
Венге красный структурный
Венге темный
Венге темный
Дуб светлый структурный
Дуб светлый структурный
Дуб шато
Дуб шато
Ясень шимо темный
Ясень шимо темный
Белая патина
Белая патина
Коричневая патина
Коричневая патина
Патина золото
Патина золото
Орех патина светлый
Орех патина светлый
Размеры 5.9 м.
Цвета доступные на складе
Софт тач белый
Софт тач белый
Софт тач бежевый
Софт тач бежевый
Софт тач капучино
Софт тач капучино
Софт тач крем-брюле
Софт тач крем-брюле
Софт тач латте
Софт тач латте
Софт тач молочный
Софт тач молочный
Софт тач муссон
Софт тач муссон
Софт тач шоколад
Софт тач шоколад
Софт тач черный
Софт тач черный
Виски зернистый
Виски зернистый
Графит зернистый
Графит зернистый
Жемчуг зернистый
Жемчуг зернистый
Ром зернистый
Ром зернистый
Сатин зернистый
Сатин зернистый
Трюфель браш
Трюфель браш
Хаспеадо сатин
Хаспеадо сатин
Хром глянец
Хром глянец
Золото глянец
Золото глянец
Шампань глянец
Шампань глянец
Бронза глянец
Бронза глянец
Белый глянец
Белый глянец
Бейлис глянец
Бейлис глянец
Венге темный глянец
Венге темный глянец
Ром глянец
Ром глянец
Дуб светлый глянец
Дуб светлый глянец
Крок жемчуг
Крок жемчуг
Серебряный дождь
Серебряный дождь
Черный зернистый
Черный зернистый
Хром браш
Хром браш
Хаспеадо золото
Хаспеадо золото
Хаспеадо хром
Хаспеадо хром
Хром матовый (анод)
Хром матовый (анод)
Золото матовое (анод)
 Золото матовое (анод)
Шампань матовая (анод)
Шампань матовая (анод)
Бронза матовая (анод)
Бронза матовая (анод)
Черный матовый (анод)
Черный матовый (анод)
Береза структурная
Береза структурная
Венге красный структурный
Венге красный структурный
Венге темный
Венге темный
Дуб светлый структурный
Дуб светлый структурный
Дуб шато
Дуб шато
Ясень шимо темный
Ясень шимо темный
Белая патина
Белая патина
Коричневая патина
Коричневая патина
Патина золото
Патина золото
Орех патина светлый
Орех патина светлый
Карта
Связаться с производителем

Для юридических лиц и индивидуальных предпринимателей

Даю согласие на обработку персональных данных в соответствии с политикой конфиденциальности.
Ваш город
Москва
Создай шкаф-купе!
Для Вашего удобства мы разработали программную визуализацию шкафа-купе в интерьере с возможностью изменения цвета профилей и наполнения.
Создать шкаф